
心脏骤停具有突发性和不可预知性,心脏骤停的识别和救治技能应普及到所有基层医务人员、公共场所服务人员,甚至逐渐推广到全社会。
近日,中华医学会发布了《心脏骤停基层诊疗指南(2019年)》,指南强调了心脏骤停救治八大要点。
1 心肺复苏(CPR)适用于院外未被目击或院内外不能立即获得除颤器/自动体外除颤器(AED)的心脏骤停
CPR的正确方法:将患者放平至较硬平面上,施救者位于患者身体右侧,可在患者两侧耳边呼唤,如果患者没有意识,应先行呼救,请周围人拨打急救电话。若周围无人,则自己先拨打急救电话,然后立即进行CPR。上述一系列动作越快越好,争取1~2min完成。
CPR包括胸部按压和救生呼吸两部分。
胸部按压方法
胸部按压的位置为两侧肋弓在中央交界点(也称剑突)上两横指处,如果是男性患者可简单选择两侧乳头连线中点处。
确定位置后,将一只手的掌根部放在按压部位,另一只手叠放在第一只手上,手指锁住,以掌跟按压。按压时注意肘关节固定,双臂伸直与患者胸壁成90°角,垂直方向下压,深度5~6cm,频率100~120次/min,并保证每次按压后胸廓回弹。若患者在床上,施救者可踩脚垫便于按压;若患者在地上,施救者应跪倒在患者身体右侧,左膝平其肩部,双膝分开与肩同宽,以此姿势实施CPR。
CPR示意图见图1。
图1 CPR示意图
救生呼吸方法
建议以30∶2的比例进行心外按压与救生呼吸,即迅速进行30次按压后紧接着2次救生呼吸。
救生呼吸时需先开放气道,多采用仰头抬颌法,即左手手掌放在患者前额部向下压,右手的食指和中指放在患者下颌正中向右侧旁开2cm的下颌骨处,提起下颌,使患者头后仰30 °,下颌角与地面垂直,保持气道开通的情况下,实施口对口或使用简易呼吸器进行救生呼吸。
使用面罩时,以EC手法按紧面罩,连续挤压球体气囊2次送气,每次1 s,送气量占气囊容积1/3左右,间隔1~2 s放气,然后再次送气,观察患者有无胸部起伏,注意避免过度通气。
每进行5个循环周期(5个30∶2,约持续2min)进行评估,观察患者有无反应。建议每2分钟更换按压者,以免疲劳导致按压频率和深度不够。
无条件采取救生呼吸
若无法行口对口救生呼吸或没有简易呼吸器也可仅做胸部按压。研究发现,与不按压相比,单纯按压仍可显著提高成人院外心脏骤停的存活率,且简便易行。
2 当心脏骤停发生在医院内且有除颤器或发生在院外有目击者且AED可立即获得时,应以最快速度除颤
若不能立即获取除颤器,或心脏骤停发生时无目击者,仍主张先CPR。
3 重复除颤及用药
重复除颤
首次电复律不成功时,应持续2 min CPR(约5个循环周期),然后重新评估心律,若仍为可除颤心律则再次电复律。
上述过程进行同时应建立较大的外周静脉通道(如肘正中静脉),若第2次电复律仍未成功,应继续徒手CPR 5个周期,同时静脉推注肾上腺素1mg(若使用外周静脉推注药物,应再推注生理盐水20ml,使药物迅速达到中心循环,下同),然后重复电复律及上述CPR循环。
除颤后需衔接CPR
电复律后均应立即衔接CPR,同时观察患者反应及心律情况,而不可仅观察监测器上的心律,停止复苏。
因为此时即使复律成功,室性心动过速或心室颤动已终止,在自主心律恢复的早期,心脏仍不能完全有效射血,需要心外按压帮助维持循环,待数秒钟后确认心跳恢复才可停止心外按压。
药物使用
若第2次除颤不成功,CPR同时应静脉注射肾上腺素1 mg,推注后再次除颤。以后可间隔3~5 min多次重复使用,每次1 mg。当推注1~2次并除颤后仍无效时,可静脉迅速推注胺碘酮300 mg(或5 mg/kg),以提高再次电复律的成功率。胺碘酮可重复使用1次,第2剂150 mg(或2.5 mg/kg)静脉推注,若电复律仍无效,则不再使用。
在2018年CPR和心血管急救科学与治疗建议的国际共识中提出,利多卡因与胺碘酮相比用于除颤后顽固心室颤动/无脉性室性心动过速患者,对于出院生存率无明显差异,故可以使用。
不可除颤心律
若监测显示为不可除颤心律(如心脏停搏或电机械分离),建议持续CPR,并尽早给予肾上腺素静脉推注。
4 心脏骤停抢救时首选给药途径多为较大外周静脉
心脏骤停抢救时首选给药途径多为较大外周静脉,如肘正中静脉,便于操作,避免干扰CPR。若使用外周静脉推注药物后,应再推注生理盐水20 ml,使药物迅速达到中心循环。
当除颤及外周静脉用药后,自主循环仍未恢复,可建立中心静脉途径(除非有禁忌证),可选择颈内、锁骨下或股静脉。
5 在CPR患者中不推荐常规使用碳酸氢钠
在CPR患者中不推荐常规使用碳酸氢钠。建议有条件者在血气或碳酸氢盐浓度监测下使用,初始剂量1 mEq/kg,或在除颤、CPR、通气支持及肾上腺素注射1次以上后使用。
6 气管插管及辅助呼吸
在CPR过程中,若无法保证气道通畅且无可靠的自主呼吸,应尽快气管插管。当完成插管建立高级气道后可不再间断心外按压,通气速率简化为每6秒1次(每分钟10次呼吸),行简易呼吸器或呼吸机辅助呼吸(通气量6~7ml/kg)。
若有呼吸器,可与气管插管连接。
7 避免干扰CPR,最大限度缩短胸部按压中断时间
进行所有操作时,包括建立静脉通道、气管插管和电除颤,均尽量避免干扰CPR,最大限度缩短胸部按压中断时间,至少使心外按压时间占到整个抢救时间的60%以上,争取达到80%以上,才可保证CPR的效果。
8 要根据患者病情和当地条件,启动高级CPR的其他措施,以进一步处理心律失常、血液动力学异常等情况,包括药物及非药物措施。
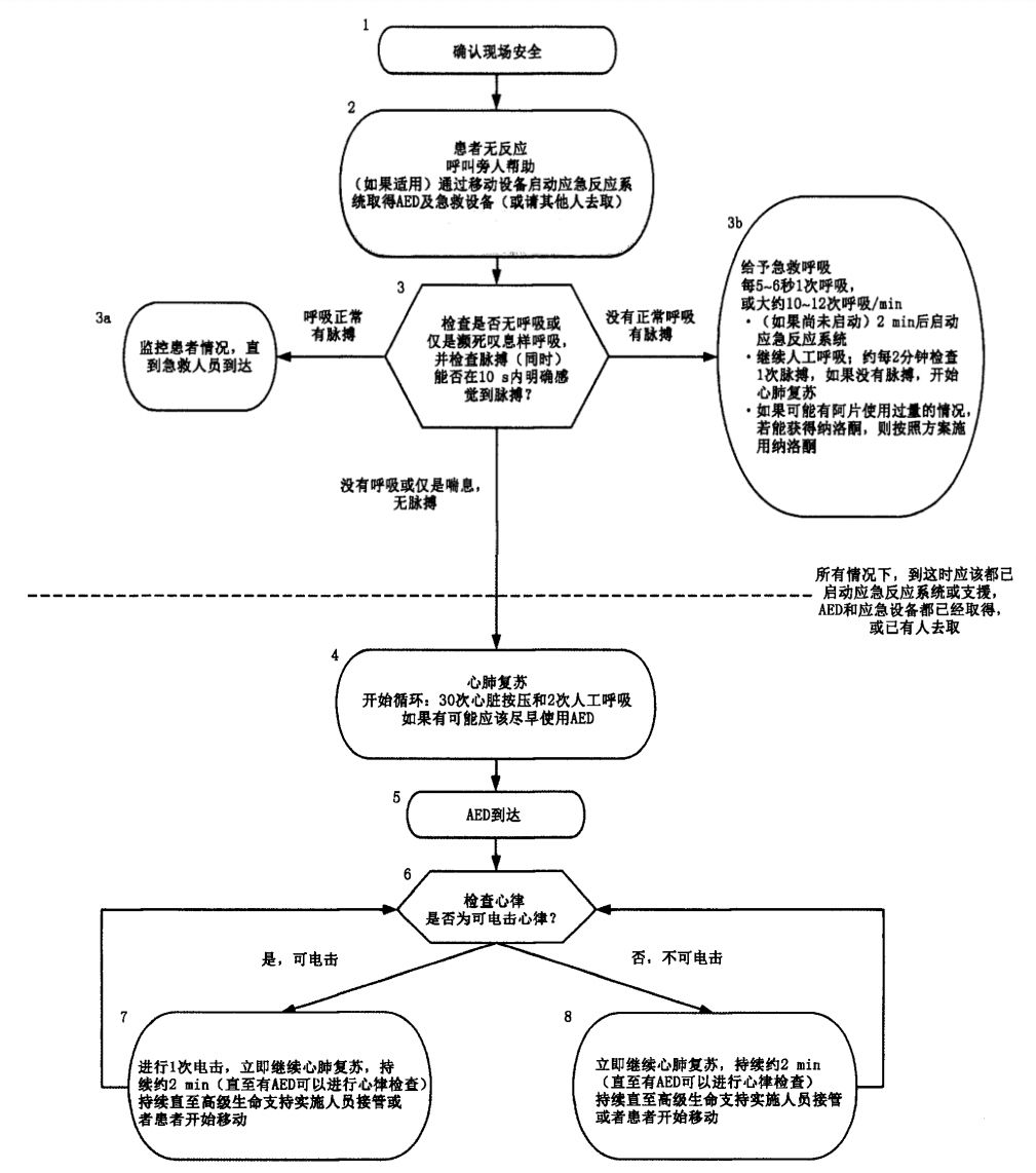
成人心脏骤停救治流程见图2、图3。
图2 成人心脏骤停救治流程
图3 成人心脏骤停救治流程
来源: 中华医学会, 等. 心脏骤停基层诊疗指南(2019年) [J] . 中华全科医师杂志,2019,18( 11 ): 1034-1041. DOI: 10.3760/cma.j.issn.1671-7368.2019.11.006
来源:急重症世界
